Cirkulationspump Grundfos TPED 2000 Serie
Grundfos TP, TPE, betrodda Publiceringsdomänen och TPED serien 200 pumpar måste kasseras enligt lokala bestämmelser med hjälp av ett offentligt eller privat sophämtning service.
Säkerhetsrisk
Säkerhet med att material som används:
Det finns ingen risk att människor under demontering som orsakas av material som används i produkten.
Säkerhet som avser hantering av produkten:
- Försiktighet bör iakttas vid hantering av pumpen tyngd.
- Demontering av produkten
De viktigaste som komponenter är:
- Ggjutjärn
- Brons
- Rostfritt stål.
Och kan därför återvinnas till en stor grad – beroende på de nationella möjligheterna för återvinning.

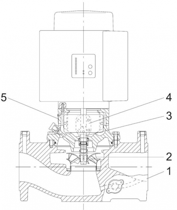
| Pos. Nej. |
Benämning |
Material |
| 1 |
Pump bostäder |
Gjutjärn / Brons |
| 2 |
Pumphjulet |
Rostfritt stål |
| 3 |
Axel |
Rostfritt stål |
| 4 |
Koppling |
Gjutjärn |
| 5 |
Pumpa huvudet |
Gjutjärn / Brons |